今年6月30日,CentOS 7 的全生命周期支持已经结束,这意味着它将不再接收新的安全补丁、错误修复和功能更新。红帽官方的建议是:在截止日期前迁移到新的操作系统,以继续使用安全更新、补丁和新功能。
随着CentOS 7的生命周期接近尾声,停止更新带来的安全风险成为了一个亟需解决的问题。越来越多的用户将业务迁移至新的操作系统,而如何选择新的系统?迁移替换要考虑哪些因素?迁移后的效果究竟如何?近日,一所C9高校介绍了其校级计算公共服务平台迁移替换的过程,对于以上问题给出了参考答案。

CentOS 7安全支持至2024年6月30日结束

红帽官方建议迁到新操作系统
一. 如何选择合适的服务器操作系统替代CentOS?
面对CentOS 7停更,该学校根据安全性和稳定性、社区和商业支持、应用兼容性等多个标准,选择将校级计算公共服务平台操作系统更新为 KeyarchOS(简称KOS),进行业务无感知的平滑迁移。
KOS是浪潮信息基于龙蜥社区Anolis OS深度定制的企业级服务器操作系统,承袭了社区版在高性能网络、高性能存储、自动化性能调优、系统运维等方向的优异特性,同时融合自身在云计算、人工智能等场景的长期经验沉淀与技术成果,进行了深度优化与特性增强,并依托社区联合实验室与上下游近百家生态伙伴完成兼容适配,具有稳定可靠、高效软硬协同、全天候运维、安全可信的特征。
选择KOS,主要看中是KOS的安全性和稳定性、社区和商业支持的可持续性、应用兼容性三方面。
■ 安全性和稳定性:KOS注重安全性和长期稳定性,能够持续提供安全更新和支持。
■ 社区和商业支持:KOS背后有浪潮信息和龙蜥社区支持,可以响应安全问题和提供技术支持。
■ 应用兼容性:KOS与 CentOS 高度兼容,现有的应用和服务迁移成本低。
二. 替换过程有哪些注意事项?
在升级集群操作系统过程中,学校着重进行了浪潮信息KOS系统的全面评测,主要的科学应用适配,并在服务不中断的情况下平滑升级。
KOS全面评测:进行计算性能 HPL、内存带宽性能 Stream、并行通信性能 IMB 等多种基准测试,确保KOS能满足运行平台应用的需求。
主要科学应用适配:为确保主要科学应用能够在KOS上正常运行,进行了大量的应用适配工作。KOS 系统共适配了 192 个新模块,包括 amber、lammps、openfoam、vasp 等。
收集用户使用反馈:在测试队列开放期间,用户可以根据用户手册自行测试应用并进行适配。在此期间持续收集用户反馈,以及时调整方案。
操作系统平滑升级:采取了平滑升级的策略,逐步替换集群的操作系统,在保证服务不中断的前提下完成升级,保证用户的体验不受影响。

集群升级时间轴
三. 替换效果如何?
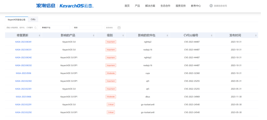
更安全:新系统具备安全补丁和更新,集群的安全性得到了大幅提升。例如 KOS 的安全公告列出了系统漏洞信息和受影响的软件包。
更高效:新系统上的科学应用运行更加高效、稳定,大量的应用适配工作也保证了用户的科研工作能顺利进行。
体验好:通过收集用户反馈和平滑升级的策略,用户的使用体验受到影响小。

KOS 安全公告
应用实际性能方面,KOS 在计算性能 HPL、内存带宽性能 Stream、并行通信性能 IMB 等多种基准测试的结果和 CentOS 基本相同。KOS 上 Lustre 客户端的单节点 IOR 写性能测试结果和 CentOS 相比有 20% 的提升。
四. 总结
CentOS 的停止更新带来了集群安全问题的挑战,该学校选择 KOS作为替代方案,整体更新了集群的操作系统。这次升级不仅解决了 CentOS 停止更新所带来的安全隐患,也为用户带来了更好的体验。基于实践经验,学校总结了操作系统选型建议,以及这次升级的主要成果:
► 操作系统选型建议
评估需求:从应用场景、安全性、兼容性等具体需求出发,选择最适合的替代方案。
性能测试:进行全面的计算、存储、通信性能评测,确保新系统能满足性能需求。KOS性能和 CentOS 相近,部分项目更好,可作为备选项。
技术支持:考虑操作系统背后的社区或商业支持力度,便于长期维护。KOS背后龙蜥社区支持力度大,可以降低后期维护风险。
► 系统升级的主要成果
安全性提升:新系统持续获得安全补丁和更新,有效降低了安全风险。
性能优化:新系统在多项基准测试表现出色,部分应用性能甚至优于 CentOS。
平稳过渡:大量的应用适配工作让应用能在新系统正常运行,减少对用户的影响。
售前咨询
售后服务
回到顶部